產品概述
該攪拌器采用不銹鋼精磨工藝,表面處理采用電解鈍化處理。
所有材料均符合歐盟環保標準。
恒溫恒濕測試500小時。

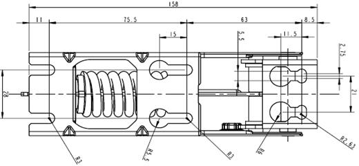
技術參數
| 編號 | 材料 | 彈簧直徑 | 外徑(mm) | 圈數 | 長度(mm) | 重量(KG) | 裝箱數(只) |
| 4619 503 1836 | 鍍鋅板DX51Z | 無 | 無 | 無 | 無 | 0.22 | 28 |
| 4619 503 1837 | 鍍鋅板DX51Z | 無 | 無 | 無 | 無 | 0.22 | 28 |
| 4619 503 1838 | 鍍鋅板DX51Z | 3.8 | 24.8 | 8.5 | 55 | 0.33 | 28 |
| 4619 503 1839 | 鍍鋅板DX51Z | 4.0 | 25.4 | 8.5 | 55 | 0.34 | 28 |
| 4619 503 1840 | 鍍鋅板DX51Z | 4.3 | 26.1 | 7.5 | 54 | 0.35 | 28 |
| 4619 503 1841 | 鍍鋅板DX51Z | 4.3 | 26.1 | 7.5 | 54 | 0.35 | 28 |
| 4619 503 1842 | 鍍鋅板DX51Z | 4.6 | 26.7 | 9.5 | 71 | 0.36 | 28 |


